The litre-class battle these days is as fierce as it can get since all the major bike makers such as Ducati, BMW Motorrad, Kawasaki or Suzuki are betting high on their latest products. On the other hand, the current generation Honda CBR1000RR is yet to step up from the engine it has been squeezing out power from since the last 10 years. Now, the company might be planning to upgrade the new 2020 CBR 1000RR with its V-TEC technology, as seen in Honda’s latest patent which features a completely new way of using VVT technology in a motorcycle engine.
Bikemakers such as Ducati, Suzuki and BMW have adapted the VVT technology in their products, and it has definitely helped them in getting better engine response because of enhanced power delivery. The system helps to churn out stronger mid-range power band while simultaneously making the engine rev higher.

Also read: 2019 Yamaha FZ-S V3.0 spotted undisguised: LED headlamp, ABS & more on Suzuki Gixxer rival

What’s new about this patent?
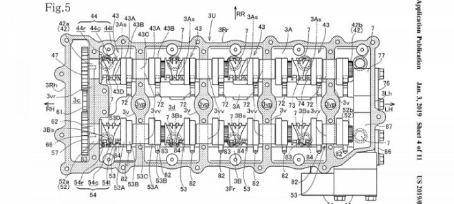
Honda’s latest patent reveals an untraditional and a highly complicated system compared to the old V-TEC seen so far in motorcycle engines. The patents reveal the use of eight sets of cams for each cylinder (as seen in the images represented via a single cylinder format). The cam lobes are now stacked together in a grooved shaft, and each valve now has double cam lobes. This format helps the set of four valves to move in the desired manner (left or right) to help the VVT action. The stacks of valves have a channel at the starting of each set of camshafts where the actuator is located. It is unsure if the company will be using eight actuators, or if only two will be connected to every camshaft via a set of rods.

Source:Â riders.drivemag